工業防水插頭插座的分類
根據用途分:用在供電線路上并且有蓋子的,一般稱為工業插座,還有一些是用在受電設備上的稱為器具插座。
根據防護等級分:IP67和IP44。
根據接地鋤頭的結構分:有地極和無地極。按照額定電壓50V來作為分界線,額定電壓大于50V的都是有地極,而小于的則都屬于無地極。
按照安裝方式分:暗裝工業插頭和明裝工業插頭,考慮實際情況選擇,暗裝工業插頭會相較更加美觀一些。
按照連鎖結構分:機械聯鎖插座和電氣聯鎖插座。
工業插頭插座的作用
工業插頭和工業插座我們也可以稱為防水插頭和防水插座,在日常生活中可能不是那么常見,但是在工業作業上是非常常用的一種產品。除了因為380V工業電壓外更因為它們具有防水的效果,這讓它們更加適合在一些惡劣環境下使用。
我們家用的市電電壓是220V,工業上常用電壓是308V,并且很多設備的運作是市電電壓帶不動的,尤其是一些大型的設備,所以工業設備的電壓都都被設置為308V,這已經是一個行業標準了,所以適用于380V的工業插頭插座出現了,就像每個人家里都肯定使用插頭插座一樣工業插頭插座的使用在工業上也是不可或缺的。
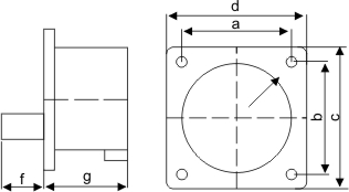
工業防水插頭插座的規格

ZYY-613 ZYY-623
16A:a-56 b-56 c-70.5 d-70.5 e-45 f-23 g-42
32A:a-56 b-56 c-70.5 d-70.5 e-57 f-28 g-51

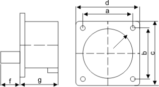
ZYY-614 ZYY-624
16A:a-56 b-56 c-70.5 d-70.5 e-45 f-23 g-42
32A:a-56 b-56 c-70.5 d-70.5 e-57 f-28 g-51

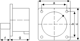
ZYY-615 ZYY-625
16A:a-56 b-56 c-70.5 d-70.5 e-45 f-23 g-42
32A:a-56 b-56 c-70.5 d-70.5 e-57 f-28 g-51









